-
MBA聯考解讀電子科技大學2017級MBA提前面試方案
-
MBA聯考解讀電子科技大學2017級MBA提前面試方案
為了全面推進電子科技大學MBA項目的良好發展,不斷優化生源結構,自2014年起,電子科技大學MBA推出“提前面試”招生方式,對于綜合素質良好的考生實行不高于國家A線錄取。凡符合教育部要求的MBA報考條件且計劃報考電子科技大學MBA的考生均可申請提前面試。2016年,電子科技大學將繼續采取“提前面試”招生方式,詳細情況如下:
一、mba項目簡介
電子科技大學(原成都電訊工程學院)是教育部直屬的國家首批“211工程”和“985工程”重點建設大學,被譽為“中國電子工業的搖籃”,“高新技術的源頭、創新人才的基地”。
電子科技大學MBA教育始于1997年。MBA項目秉承“扎根IT及其應用領域,技術創新與創業并重,特色化與國際化發展并進”的戰略定位和發展思路。在2001年9月中國高校工商管理碩士學位(MBA)教學合格評估(第二批)中,電子科技大學MBA教育的綜合成績位居全國第二,辦學特色居全國第一。2012年4月,電子科技大學MBA教育順利通過了“AMBA國際認證”(Association of MBAs,世界三大商學教育認證組織之一,全球最具權威的商學院MBA項目國際認證體系),標志著電子科技大學MBA教育邁向全面國際化發展的新征程。
二、mba招生方式
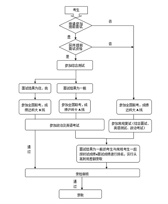
1. “提前面試”招生方式。采取“提前面試申請、背景評估、提前面試(綜合素質)、網上報名、現場確認、全國聯考、復試(政治理論考試和英語面試)、正式錄取”的方式進行。凡符合教育部規定的MBA報考條件的考生均可申請提前批面試,面試結果達到優、良的考生進入電子科技大學MBA“精銳計劃”,面試結果為“一般”的考生進入電子科技大學MBA“新銳計劃”,將分別享受相應的專項政策。
2. “常規批”招生方式。采取“網上報名、現場確認、全國聯考、過線復試(綜合素質+政治+英語)、擇優錄取”的方式進行。
三、mba招生政策
1.招生項目
電子科技大學2017級MBA招生計劃名額最低300人,可根據參加提前面試考生的數量和質量進行調整,包含以下項目:
序號
項目名稱
學習方式
上課地點
面試地點
項目特點
1
“創新與變革領導力”
脫產
成都
成都
面向企業創新創業實踐,通過系統的經濟管理知識學習和整合性技能訓練培養創新型管理精英。
2
成都在職MBA
周末、晚班、集中班
成都
成都
專業方向設置:電子商務與服務管理、互聯網金融與財務、市場營銷、戰略與人力資源管理、創新與創業管理
以上2個項目分別獨立招生,面試結果獨自排名,各項目招生人數可根據參加其提前面試考生的數量和質量進行調整。
2.mba提前面試專享政策
電子科技大學自主劃定A、B兩條錄取線,其中B線為兩者中的低線(不高于國家線),A線為兩者中的高線。
面試結果
享受政策
入選計劃
占參加當批次總人數比例
說明
優
B線預錄取
精銳計劃
80%
MBA聯考成績達當年電子科技大學B線(不高于國家A線)即直接獲得預錄取資格
良
一般
A線優先錄取
新銳計劃
20%
聯考成績達當年電子科技大學A線可以按“初試分+面試分”的總成績與常規批申請該項目的考生一起排名,從高到低依次錄取。同等條件下獲“優先錄取”資格。
(1)入選精銳計劃且第一志愿報考電子科技大學的考生,當年聯考成績未達到電子科技大學B線,該“預錄取”資格可保留至第二年。
(2)入選新銳計劃且第一志愿報考電子科技大學的考生,在聯考成績通過電子科技大學A線后,如個人提出申請也可再次參加常規批綜合面試,取兩次面試高者與常規批申請該項目的考生一起排名,從高到低依次錄取。
(3)凡通過提前批面試的考生,第一志愿須報考電子科技大學,參加全國MBA聯考,成績達到相應分數線,且通過電子科技大學復試(政治理論考試和英語測試),成績合格者才能按相應政策獲得“錄取”資格。

3.mba申請流程圖

四、mba申請條件
凡符合教育部要求的MBA報考條件的考生均可申請。
1. 中華人民共和國公民,年齡不限。
2. 研究生畢業者須有兩年以上工作經驗(2015年9月前畢業);大學本科畢業者須有三年以上工作經驗(2014年9月前畢業);大專畢業者須有五年以上工作經驗(2012年9月前畢業);
3. 身體健康狀況符合國家和電子科技大學規定的體檢要求。
五、mba面試時間
計劃從6月份起,陸續分批次安排面試,具體面試時間請關注電子科技大學MBA教育中心網站
批次
網上申請截止日期
公布面試名單
面試時間
公布面試結果
第一批
5月3日
5月6日
5月15日
5月20日
第二批
7月5日
7月8日
7月16日
7月22日
第三批
8月30日
9月2日
9月11日
9月19日
第四批
10月7日
10月10日
10月15日
10月19日
第五批
11月8日
11月11日
11月19日
11月25日
六、mba提前面試步驟
步驟于3月份詳見電子科技大學MBA官方網站通知
重要提示:
1. 以上信息若有變更,請以電子科技大學MBA中心網站最新通知為準。
2. MBA中心將分批組織提前批招生開放日活動,為考生解讀提前面試相關政策,請各位考生關注中心網站。
特別說明:以上信息最終解釋權歸電子科技大學MBA教育中心所有。
雄松華章最早于2003年開辦管理類碩士聯考培訓,是該領域的領袖品牌。多年來,以“專業教學研究+精確把握考點信息+精選全國名師+聯考高通過率”等優勢聞名,被譽為管理類聯考培訓中的“黃埔軍校”。
-
推薦閱讀
- 【MBA提前面試】 中山大學管理學院2024年工商管理碩士(含EMBA、MBA、國際MBA和醫療管理MBA)提前面試安排
- 【MBA提前面試】 深圳 | 華中科技大學2024年MBA聚英計劃提前面試發布
- 【MBA提前面試】 招生信息 | 2024年廣東工業大學MBA提前面試安排
- 【MBA提前面試】 提面通知 | 武漢大學經濟與管理學院2024年工商管理
- 【MBA提前面試】 2024年中山大學商學院MBA(深圳)提前面試申請
- 【MBA提前面試】 提前面試安排丨中山大學管理學院2024年工商管理碩士(含EMBA、MBA、國際MBA和醫療管理MBA)
- 【MBA提前面試】 2024年廣州大學工商管理碩士(MBA)提前面試通知
- 【MBA提前面試】 北大光華2024級MBA提前面試方案
您可能感興趣的課程


